Apple 正在研究一種睡眠偵測系統,它是一種「觸感振動反饋」(haptic feedback)設備,它可以放置在床墊上並充當使用者的鬧鐘或放鬆的設備。
Apple 在 2017 年買下芬蘭睡眠監測及管理的設備製造商 Beddit Sleep Monitor,當時曾有報導,該裝置商的 App 和睡眠系統可夠過連接 iPhone,即時監測用戶每日睡眠習慣,包括睡眠品質、心率、呼吸甚至打鼾等情況,進而進入睡眠追蹤應用市場。
Apple 進行與睡眠追蹤有關工作已經有一段時間,並在 2020 年將睡眠追蹤功能引入了 Apple Watch平台。
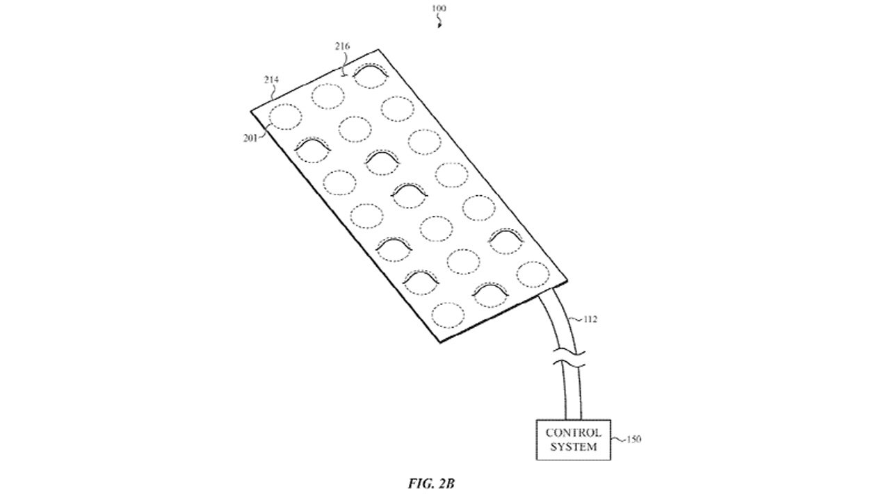
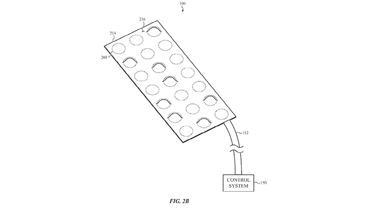
在周四時間,Apple 公佈的一項「用於在床墊上的觸感振動設備,具有產生觸覺輸出的被動單元」的專利申請中,Apple 概述了一種新型的與睡眠有關的系統,可控制設備在床墊上提供觸覺反饋 。
所謂的「床內觸覺設備」可以由致動單元(actuator) 組成,致動單元在控制系統中,能將控制信號轉換成具有推動被控系統之動力裝置,它可以通過引入或去除某種“流體”來做到這一點,“流體”還可以包括空氣、氣體、液體或它們的某種組合。該致動單元可以被充氣或放氣以產生觸覺和可感知的動力。
「床內觸覺設備」在使用過程可配置在使用者的下方。就像在床上使用,床內觸覺設備會放置在床墊和使用者之間。床內觸覺設備該設備可以沿著頂部外表面提供觸覺輸出,該觸覺輸出可以被用戶以觸覺方式感知(例如,通過觸摸感測)。
舒適度是睡眠的重要組成部分,因此 Apple 補充說,床內觸覺設備可能足夠薄或足夠柔軟,當放置在用戶和床墊之間時不會打擾到使用者。
Apple 指出,這設備可用於「幫助使用者放鬆」、或「喚醒使用者」,利用床內觸覺設備或其他電子設備等的輸出通知。借助這套傳感器,系統可以檢測使用者是否在床上,以及他們的背部,側面或腹部是否在睡覺。如果傳感器中包括麥克風,表示系統還可以偵測到打呼。就實際使用而言,它可用溫和喚醒使用者,就像無噪音的“鬧鐘”。再結合打呼偵測系統,它可以自動提供觸覺反饋,在使用者整夜打呼時將他輕輕喚醒。
自 2014 年蘋果發表健康應用和 HealthKit 以來,醫療產品幾乎成為每次發表會的重頭戲,Apple 多次探索在產品嵌入健康相關功能。尤其是 2017 年發表的新一代 Apple Watch 極具代表性,心臟監測功能更成為首款通過 FDA 認證的 Apple Watch 配件,可當作醫療裝置上市。
因此,睡眠,一直是 Apple 非常看重的醫療戰略線一環。
不過,還是要提醒一下,Apple 每週都會申請並獲得許多專利,但這些專利不足以表明 Apple 未來計劃或任何產品發佈時間表。
消息來源:appleinsider , Photo by Kinga Cichewicz on Unsplash











